在锂离子电池生产过程中,极片生产完成后,采用卷绕或者叠片方式将正、负极极片和隔膜组装制造形成基本的电芯。随后,一般会对电芯进行热压整形。本文主要简单介绍热压整形工艺的目的与工艺控制要点。
一、工艺目的
无论在卷绕中或者Z型叠片中,必须对隔膜施加一定的张力,以确保正极片、隔膜、负极片之间的整齐程度,然而工艺过程中的张力会使隔膜在走带方向被拉长,隔膜在走带方向的收缩量很大,会使得隔膜严重挤压极片,从而导致电芯组装工艺后,特别是绕卷工艺,电芯发生变形,变形后的电芯不仅外观平整度差,内部还会存在隔膜褶皱等缺陷,如图1和图2所示,这会导致容量低、循环性能差及自放电快等质量问题,尤其是卷绕较厚的电芯,卷绕后的变形问题尤为突出。另外,松散状态的电芯厚度一致性也差,会影响电芯入壳工艺,增加入壳工艺的难度,甚至导致入壳时电芯损伤。

因此,电芯热压整形的主要目的包括:
(1)改善锂离子电池的平整度,使电芯厚度满足要求并具有高的一致性;
(2)消除隔膜褶皱,赶出电芯内部空气,使隔膜和正负极极片紧密贴个在一起,缩短锂离子扩散距离,降低电池内阻。
二、工艺过程
为了使锂离子电池电芯能够在经过整形后平直且避免回缩复原。电芯热压整形工艺过程如下:将卷绕或叠片好的电芯放在模板上,设定增压缸压力和模板温度,然后上下模板在一定压力和温度作用下使电芯定型,达到电芯厚度一致,使电芯弹性减小,降低装芯合格率并保
证成品电芯厚度的一致性。

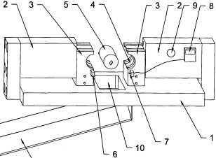
图3方形电芯热压整形装置
对于方形电池,热压整形装置如图3所示,上下模板就是平板,在压力作用下平板合模平整电芯。而对于圆柱电池,热压整形装置如图4所示,固定在底座上产生相向运动的两汽缸,在两汽缸活塞杆尾端带有柱形槽的两个半圆模,两半圆模柱形槽的半径相等且等于或小于预设卷芯半径。利用机械手或夹具夹持卷芯放置在两个半圆模的中心位置处,控制两个汽缸带动两半圆模合模相向运动,使得两个半圆模对卷芯进行挤压,从而将卷绕整形到预设的尺寸,使之能够放入与之相匹配的外壳内。

图4圆柱形电池电芯热压整形装置示意图
一般,在电芯热压整形时,同时对电芯进行绝缘耐电压测试,检测电芯内部是否存在微短路。如果电芯内部存在微小金属异物颗粒,在电芯被压下状态,电芯隔膜刺穿,很容易检测出微短路不合格品。关于电芯绝缘耐电压测试,之前整理过一篇文章:锂电池电芯绝缘耐电压测试基础知识(点击阅读)。
三、工艺要点
电芯热压整形的主要工艺参数有加压压力、加压时间和模板温度。在合适的工艺参数下,厚电芯内部几乎不存在空气,隔膜和极片紧密粘合在一起,松散电芯能够变成硬块状态。但是,对于近年来使用的陶瓷隔膜,由于陶瓷层存在,隔膜很难与极片粘合在一起形成这种状态。在工艺确定试验中,检测项目包括隔膜的透气性、厚度变化;电芯厚度是否满足入壳要求;极片是否发生断裂等。
电池隔膜作为电池的核心部件,发挥了隔离正负极电子传导、同时允许锂离子在两极之间的往复通过的关键作用,隔膜上的微孔结构正是这些离子往返于正负极的重要通道,它的透气性能会直接影响到电池的性能,隔膜透气性是指隔膜在一定的时间压力下透过的气体量。如果隔膜的透气性不好,将影响锂离子在正负极之间的传递,继而影响锂电池的充放电。测试工艺过程为:固定电池隔膜,在隔膜一侧施加气压,计量气压压降和所用时间,检测隔膜的透气度,所用时间越短,透气性越好。在热压过程中,隔膜可能被严重压缩,隔膜厚度变化大,导致微孔被堵塞,肉眼观察隔膜会变成透明色,这种情况说明热压整形对电芯作用超限,会影响锂离子传输。卷绕电芯如图2所示,如果极片比较脆,电芯折弯处在热压整形中容易发生掉粉甚至断裂,这会导致电子传输受限,增加电池内阻。因此,电芯热压整形也必须避免这种情况发生。这两个方面要求热压整形压力越小越好,时间越短越好。而另外一方面,热压整形又必须使电芯定型,电芯厚度满足工艺要求,电芯弹性减小,并保证成品电芯厚度的一致性。因此,压力,时间和温度等工艺参数需要优化。




